Apple Could Have A Fix For Its Charging Cables' Biggest Frustration
Most people with an Apple device (or most people with any smart device, for that matter) can tell you stories about charging cables fraying over time. It's a frustrating issue because not only does it represent money that you're throwing in the trash can, but until you replace the cable, it's also a hazard. Apple may have figured out a way to make cables more durable, potentially solving the issue of frayed cables.
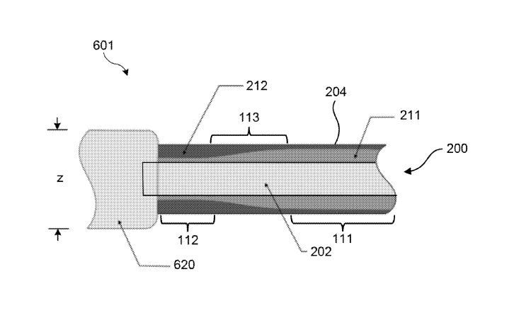
As reported by AppleInsider, Apple has filed a patent for a "Cable with variable stiffness." The abstract for the patent tells us that this cable would include a "cable core surrounded by an outer sleeve having uniform thickness," which is the first key to this solution. Apple's patent wouldn't rely on varying thickness like some cables do, and indeed, it sounds like it wouldn't need to reinforce the areas where the cable attaches to connectors with bulkier segments, like we see in current Lightning cables.
The abstract goes onto describe a cable "further having a first longitudinal section having a first stiffness (e.g., corresponding to a flexible cable), a second longitudinal section having a second stiffness (e.g., corresponding to a rigid cable), and a third longitudinal section between the first and second longitudinal sections, where the second stiffness is greater than the first stiffness and where a stiffness of the third longitudinal section varies between the first stiffness and the second stiffness." The abstract then goes onto say that the "second longitudinal section can provide strain relief for the cable."

One of the cross-section illustrations accompanying the patent filing shows us what Apple is talking about, with the actual cable running through the center and then being surrounded by different layers of material. Toward the area where the cable attaches to the charging connector, one of those layers (the stiffer second layer) gets thicker without changing the thickness of the cable as a whole.
It's an interesting idea, and a lot of the patent application explores the materials and compositions these charging cables can have. Obviously, a patent application does not a product make. We'll have to see if Apple puts the ideas laid out in this patent to use in future charging cables, so stay tuned for more.